新車&ニュース
EV
スクープ
トピックス
ニュース
モーターショー
新車情報
日本車
テスト
EV
SUV
スポーツカー
セダン&ワゴン
テストドライブ
ドイツ車
トラック&バイク
ユーズドカー
レーシングカー
日本車
面白ネタ&ストーリー
EV
キャンピングカー
このクルマなんぼするの?
チューニングカー
もったいない!
特集
特集記事
旧車&ネオクラシック
チューニングカー
EV
SUV
スポーツカー
ホビー
エッセイ
ホーム
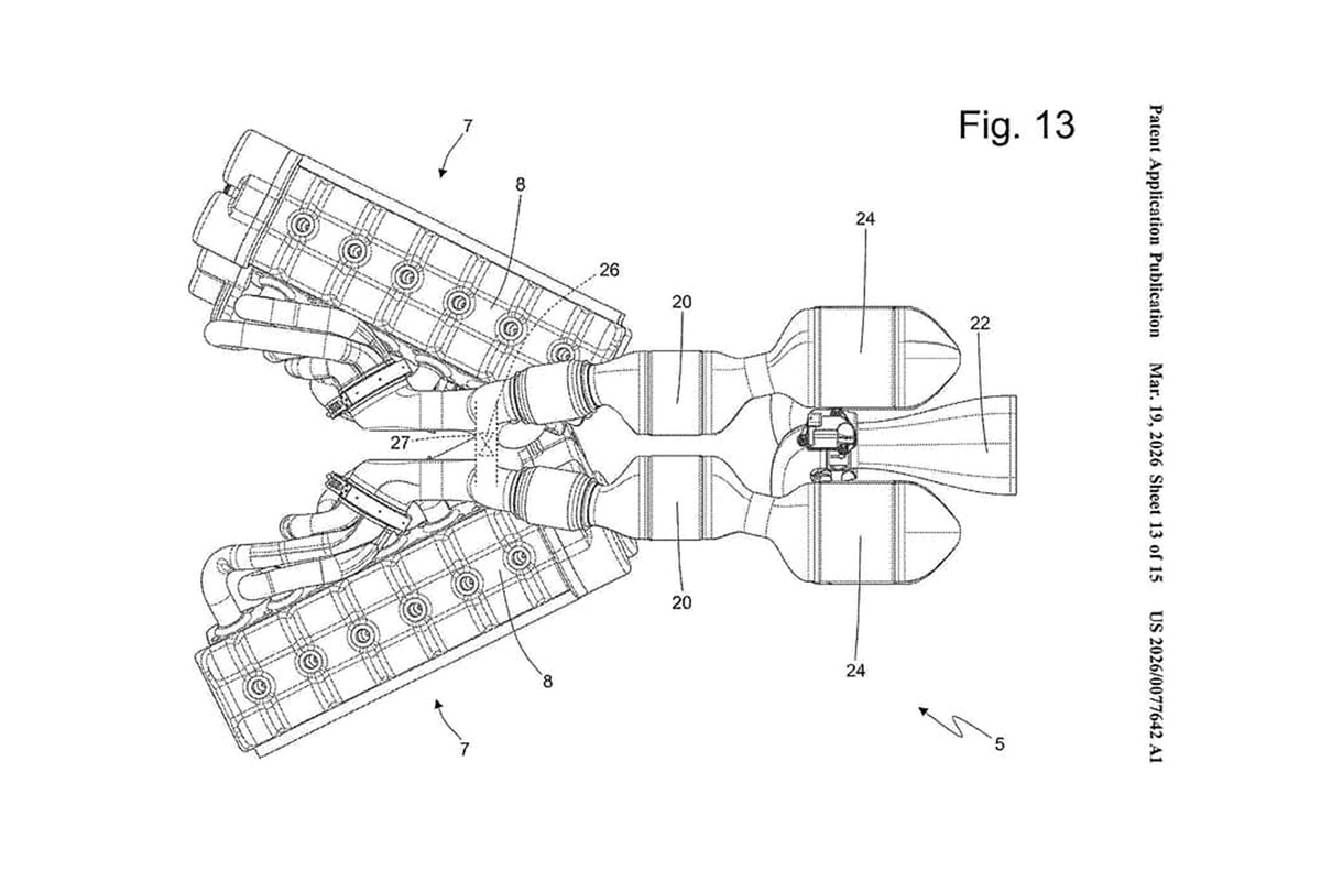
【写真を見る】【ニューテクノロジー】フェラーリがV12の特許を取得 フェラーリは従来のV型配置を根本から再解釈した12気筒エンジンの特許を取得した!
【写真を見る】【ニューテクノロジー】フェラーリがV12の特許を取得 フェラーリは従来のV型配置を根本から再解釈した12気筒エンジンの特許を取得した!
2026年4月11日
この写真の記事を読む